-
Tel:+86-15996094444
-
E-mail:
Pýtať sa teraz
+86-15996094444
Pýtať sa teraz
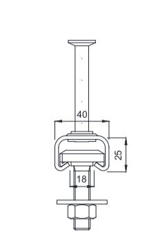
| Profilovať | Horúci valcovaný kanál | Za studena valcované kanály | |||||||||||
| HMPR 52/34p | HMPR 50/30p | HMPR 40/22p | HMPR-P 40/26 | ||||||||||
| Zobrazenie sekcie | | | | | |||||||||
| Materiál | HDG | HDG | HDG | A2/A4/HDG | |||||||||
| Typ skrutky | HS | HS/HAZ | HS/HAZ | HS/HAZ | |||||||||
| Skrutka | 50 | 50 | 40 | 40 | |||||||||
| M | 12 | 16 | 20 | 12 | 16 | 20 | 10 | 12 | 16 | 10 | 12 | 16 | |
| SS | B (mm) | 60 | 80 | 100 | 60 | 80 | 100 | 50 | 60 | 80 | 50 | 60 | 80 | |
| N Rd, s, l alebo n Rs, s, c [kn] Oceľ/nehrdzavejúca oceľ | 28,66 / - | 22,33 / - | 13,22 / - | 12,66 / 14.77 | |||||||||
| Vložka Rd, s, l alebo v Rs, s, c [kn] Oceľ/nehrdzavejúca oceľ | 28,66 / - | 22,33 / - | 13,22 / - | 12,66 / 14.77 | |||||||||
| M Rd, s, flex | HDG | 2440 | 2704 | 1261 | 2440 | ||||||||
| Ul. | - | - | - | 911 | |||||||||
| Geometrické hodnoty | |||||||||||||
| b chvályvály [MM] | 52 | 50 | 40 | 40 | |||||||||
| h ch [mm] | 34 | 30 | 22 | 25 | |||||||||
| h nobleskovaný [mm] | 158 | 108 | 93 | 96 | |||||||||
| h ef [mm] | 155.5 | 106 | 91.2 | 94.2 | |||||||||
| c min [mm] | 100 | 75 | 50 | 50 | |||||||||
Kotvené kanály
Známy tiež ako štrbina alebo inštalačný kanál, je komponent používaný v konštrukčných a konštrukčných aplikáciách na zabezpečenie bezpečného a nastaviteľného ukotvovacieho roztoku. Bežne sa používa na pripevnenie a podporu rôznych stavebných prvkov, ako sú fasády, steny záclon, opláštené panely a zavesené stropy.
Kotový kanál pozostáva z kovového kanála alebo trate, ktorý je zabudovaný alebo pripojený k opornej štruktúre, ako je betón alebo oceľ. Zvyčajne má prierez v tvare U v tvare U alebo C, ktorý umožňuje ľahké vloženie a nastavenie kotvových skrutiek, závitových tyčí alebo iných upevňovacích prvkov.
Ketový kanál je nainštalovaný počas fázy výstavby, zvyčajne pred použitím vonkajšieho povrchu alebo opláštenia. Je bezpečne pripevnená k podkladovej štruktúre pomocou vhodných upevňovacích prvkov, ako sú betónové skrutky, lepidlo alebo zváranie, v závislosti od špecifických požiadaviek na aplikáciu a zaťaženie.
Akonáhle je kotvový kanál na mieste, môžu sa k nemu pripevniť rôzne stavebné prvky pomocou kompatibilných konektorov alebo upevňovacích prvkov. To umožňuje flexibilitu v inštalácii, úprave a výmene týchto prvkov, ak je to potrebné.
Jednou z hlavných výhod ukotvených kanálov je ich nastaviteľnosť. Upevňovacie prvky alebo konektory sa dajú ľahko umiestniť pozdĺž kanála, čo umožňuje presné zarovnanie a vyrovnávanie pripojených prvkov. Táto nastaviteľnosť je užitočná najmä pri riešení zmien v rozmeroch alebo zarovnaní počas výstavby.
Kotvové kanály tiež poskytujú vysoký stupeň zaťaženia a stability. Návrh kanála distribuuje zaťaženie na väčšej ploche, znižuje koncentrácie napätia a zlepšuje celkovú pevnosť spojenia. Vďaka tomu sú ukotvené kanály vhodné pre aplikácie, kde sú zapojené veľké zaťaženie alebo dynamické sily.
Je dôležité si uvedomiť, že konkrétny návrh a vlastnosti kotvových kanálov sa môžu líšiť v závislosti od výrobcu a zamýšľanej aplikácie. Konzultácia o špecifikáciách a pokynoch výrobcu sa odporúča, aby sa zabezpečila správna inštalácia a používanie ukotvených kanálov pre vaše konkrétne požiadavky na projekt.
Jiangsu Aozheng Metal Products Co., Ltd. áno Čína Hot Dip Galvanizz Cast v Anchor Channel dodávateľa a veľkoobchod Hot Dip Galvanizz Cast v Anchor Channel továreň, Sme podnik integrujúci priemysel a obchod, ktorý sa venuje výrobe stavebného kovania vyrobeného z nehrdzavejúcej ocele, zliatiny hliníka, uhlíkovej ocele a nízkolegovanej ocele. Prijímame pokročilé automatizované procesy rezania, razenia a zvárania. Sme diverzifikovaná a rozsiahla profesionálna výrobná základňa integrujúca továrne na tvarovanie surovín a obrábanie. Založené na vysokokvalitnom a špičkovom trhu s ročnou produkciou 2 000 ton rôznych stavebných materiálov, ktoré sa vyvážajú najmä do desiatok krajín, ako sú Spojené štáty americké, Nemecko, Taliansko, Spojené kráľovstvo, Južná Kórea, Austrália, Kanada a Blízky východ. Medzi zákazníkov patria veľké stavebné spoločnosti a známe stavebné tímy a stali sa ich dodávateľmi stavebných materiálov na Blízkom východe. S ročnou produkciou viac ako 2 000 ton rôznych stavebných materiálov sa vyváža najmä do desiatok krajín ako sú Spojené štáty americké, Nemecko, Taliansko, Veľká Británia, Južná Kórea, Austrália, Kanada a Blízky východ. Spolupracuje aj s veľkými stavebnými spoločnosťami vrátane špičkových stavebných tímov a stala sa dôležitým dodávateľom ich stavebných materiálov v Číne.
Aozheng Metal má viac ako 10 rokov skúseností s výrobou a silný tím výskumu a vývoja, ktorý poskytuje komplexné služby a 24-hodinové online služby v súlade s účelom vyššej efektívnosti, vyššej rýchlosti". Po rokoch neutíchajúceho úsilia sa produkty spoločnosti tešia vysokej povesti doma aj v zahraničí."

High-tech podniky

Vyrobené v certifikácii čínskej siete

Obchodná licencia

Otváracie povolenie

Jiangsu Private Science & Technology Enterprise

Ťažký kombinovaný prívesok na kameň

Integrovaná kamenná zadná skrutka

Integrovaný rozširujúci krúžok a zadná skrutka s integrovaným rozširujúcim krúžkom

Prívesok

Jednoduchý prívesok vhodný pre drážkovaný kameň

Špeciálny hliníkový prívesok z zliatiny pre kombinované keramické dlaždice

Skrutka zadnej skrutky
Tri dni inovácií, prepojenia a vízie na Medzinárodnej výstave staviteľov v roku 2026 v Orlande – vhodné zavŕšenie času IBS v tomto pulzujúcom meste pred jeho budúcim presťahovaním do Las Vegas. ...
Prečítajte si viacPresnosť začína už dnes. V tento 10. deň lunárneho nového roka sme hrdí na to, že môžeme obnoviť výrobu prémiových hliníkových výliskov a kamenných obkladových systémov. Váš spoľahlivý hardvérový ...
Prečítajte si viacV rámci obnovy miest v roku 2026 je integrácia vysokovýkonných obvodových plášťov budov rozhodujúca pre splnenie prísnych environmentálnych kritérií. A Terakotový fasádny systém predstavuje ...
Prečítajte si viac| Profilovať | Horúci valcovaný kanál | Za studena valcované kanály | |||||||||||
| HMPR 52/34p | HMPR 50/30p | HMPR 40/22p | HMPR-P 40/26 | ||||||||||
| Zobrazenie sekcie | | | | | |||||||||
| Materiál | HDG | HDG | HDG | A2/A4/HDG | |||||||||
| Typ skrutky | HS | HS/HAZ | HS/HAZ | HS/HAZ | |||||||||
| Skrutka | 50 | 50 | 40 | 40 | |||||||||
| M | 12 | 16 | 20 | 12 | 16 | 20 | 10 | 12 | 16 | 10 | 12 | 16 | |
| SS | B (mm) | 60 | 80 | 100 | 60 | 80 | 100 | 50 | 60 | 80 | 50 | 60 | 80 | |
| N Rd, s, l alebo n Rs, s, c [kn] Oceľ/nehrdzavejúca oceľ | 28,66 / - | 22,33 / - | 13,22 / - | 12,66 / 14.77 | |||||||||
| Vložka Rd, s, l alebo v Rs, s, c [kn] Oceľ/nehrdzavejúca oceľ | 28,66 / - | 22,33 / - | 13,22 / - | 12,66 / 14.77 | |||||||||
| M Rd, s, flex | HDG | 2440 | 2704 | 1261 | 2440 | ||||||||
| Ul. | - | - | - | 911 | |||||||||
| Geometrické hodnoty | |||||||||||||
| b chvályvály [MM] | 52 | 50 | 40 | 40 | |||||||||
| h ch [mm] | 34 | 30 | 22 | 25 | |||||||||
| h nobleskovaný [mm] | 158 | 108 | 93 | 96 | |||||||||
| h ef [mm] | 155.5 | 106 | 91.2 | 94.2 | |||||||||
| c min [mm] | 100 | 75 | 50 | 50 | |||||||||
Naše výrobky sa vyvážajú hlavne do viac ako 30 krajín, ako sú USA, Nemecko, Japonsko, Španielsko, Taliansko, Spojené kráľovstvo atď. Naši klienti zahŕňajú veľa zákazníkov OEM, ktorí sa špecializujú na výstavbu , už sme mali spoluprácu so špičkou sveta výstavba spoločnosti a tímy. My ako jeden z ich hlavných dodávateľov v Číne.
Zvyčajne vám dodáme tovar more, pretože sme blízko prístavu Šanghaj a to je veľmi pohodlný a efektívny na prepravu tovaru do ktorejkoľvek inej krajiny. samozrejme, Ak je váš tovar veľmi urgentné, Nanjing Letiská na letisku a Šanghaji sú tiež veľmi blízko.
Keď vám poskytneme ponuku, potvrdíme metódu transakcie, FOB, CIF, PDF atď.
V prípade hmotnostného tovaru musíte pred výrobou zaplatiť 30% vklad a na základe kópie dokumentu zaplatiť zostávajúcich 70%. Bežná cesta je cez T/T. L/C je tiež prijateľné.